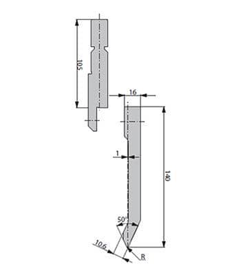
50°Punches/top-tools, Amada Press Brake Tooling
Need specific tooling that’s not listed? Leave your contact details, and our experts will assist you with a customized technical solution, at no additional cost.
-
F 12.065 (750KN/m Max, Radius=1mm, H=190mm) Length Weight 100mm 2.755KG 200mm 5.51KG







