Hemming Punches and Die Sets, Amada Press Brake Tooling
Need specific tooling that’s not listed? Leave your contact details, and our experts will assist you with a customized technical solution, at no additional cost.
-
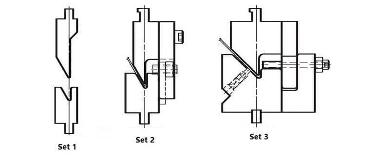
Set 1 is an economical hemming die set, which is used to form open hems on 20 gauge or lighter materials. The length of the foldover generally doesn’t exceed 2 inches.
Set 2 is suitable for bending materials up to 16 gauge carbon steel.
Set 3 is modified to form an open hem in two operations on 14 gauge or lighter materials. This hemming punch and die set will reduce the whip up center of longer sheets. Set 3 is limited to forming hems that do not exceed 3/4".
Inquiry -
Set 4 is the standard hemming die for handling up to 18 gauge material.
Set 5 has been designed to form 14 gauge or lighter materials by adding a back heel to the top area of the die set.
Set 6 is designed to eliminate the whip up of sheets and avoid damage products due to errors in operations.
Inquiry -
Set 7 is used in combination with the flattening dies to form a standing seam in two operations. This hemming die will perform an acute angle in the middle of sheets. The die set 7 is applicable to 18 gauge or lighter materials.
Set 8 is designed to perform the acute angle offset and closing operations.
Inquiry -
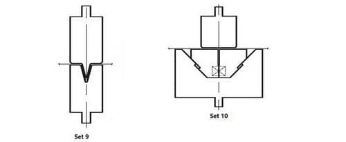
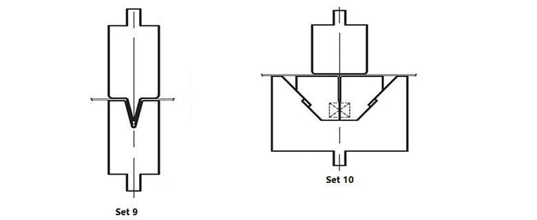
Generally, two operations are required when forming a seam in the center of the sheet. Die sets 9 and 10, which have high matched shut heights, will be used together so that operators can perform both steps in the same press brake machine.
Inquiry










